The regular remote control has stayed quite standard over the years other than dropping a wire, adding a screen, becoming radio controlled rather than infra-red as well as being able to store several remote controls in one.
You’d have probably thought by now that the remote control wasn’t really going to advance that much (not referring to iPhone and iPad integrations here). Well, Microsoft [MSFT] appears to be working on a new remote control that has a six-axis sensor capable of detecting what way you are holding the device.
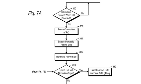
The new remote control has controls on multiple sides and by mixing the six-axis sensor in to the package the remote control can detect which way it is being held and activate the appropriate controls. The remote control has a transparent touchscreen rather than buttons that activate when needed. The six-axis sensor also can detect when the remote control is sitting still and switch it’s self off when not needed. Picking it back up would re-enable the correct control screen.
It’s quite surprising how much thought has gone in to a standard and fairly boring but handy device.
More details here.
Via: Being Manan





Speak Your Mind
You must be logged in to post a comment.